支付牌照信息已更新!6家支付机构已换负责人

2023-07-19 17:53   141   0  

移动支付网消息:本月,人民银行公布的非银行支付机构《支付业务许可证》续展公示信息(20237月第六批)显示,嘉联支付、首信易支付、度小满支付、新浪支付等12家支付机构顺利通过续展,云南银通支付、榆林元亨商务等机构则不再续展。最新续展过后,人民银行在官网更新相关的支付牌照信息。除了最新续展带来的变动外,移动支付网还注意到,7月还有多家支付机构的牌照信息发生了变动,变动内容包括法定代表人、营业场所等。

开联通支付服务有限公司

开联通支付法定代表人(负责人)发生了变更,由贾明玉替代宋湘平。

开联通支付成立于2010年,是国内首批27家获得人民银行颁发《支付业务许可证》的非银行支付机构之一,并在2021年第二次成功续展,主要资质为全国范围的预付卡发行与受理和互联网支付。工商信息显示,贾明玉于今年6月正式登记成开联通支付的法定代表人,宋湘平则继续留在董事会担任副董事长。股权结构信息还显示,贾明玉是开联通支付背后重要的股东之一。

南京苏宁易付宝网络科技有限公司

易付宝法定代表人(负责人)发生了变更,由张春霞替代卢世栋。

易付宝成立于2011年1月24日,是由苏宁云商(星图金服的前身)全资成立的一家第三方支付机构,在2012年6月27日取得人民银行颁发《支付业务许可证》,资质仅有互联网支付一项。工商信息显示,张春霞于今年1月正式登记成易付宝的法定代表人,此前曾仁易付宝副总经理一职。

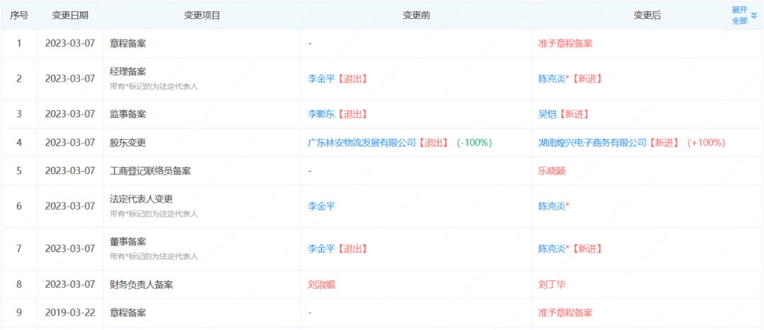
广州商物通网络科技有限公司

商物通的法定代表人由李金平变更为陈克炎。

商物通成立于2011年1月,2014年7月获得人民银行颁发的互联网支付牌照。今年3月7日,跨境支付服务商Airwallex空中云汇发布声明称,经有关部门批准已完成对商物通的100%股权收购,而陈克炎正是空中云汇中国区副总裁。工商信息还显示,空中云汇通过湖南煌兴电子商务有限公司对商物通全资控股,伴随着收购的发生,商物通自然在股东、董事、监事、法定代表人等方面有变更。

广东粤通宝电子商务有限公司

粤通宝法定代表人(负责人)发生了变更,由赵中阳替代刘向东。

粤通宝原名广东广物电子商务有限公司,2015年获得中国人民银行支付业务许可证,获准在广东省范围开展预付卡发行与受理业务。除了名称变更,粤通宝的股权结构也发生过改变,其全资控股方从原来的广物集团变为广东联合电服信息科技有限公司,二者均系广东省的国有控股企业。赵中阳也是广东联合电服信息科技有限公司的法定代表人,而该公司的母公司为广东联合电子服务股份有限公司,已在A股上市。

双乾网络支付有限公司

双乾支付法定代表人(负责人)发生了变更,由黄荣彬替代周锦泉。

双乾支付成立于2010年12月,总部位于苏州,于2012年6月27日获得互联网支付牌照。工商信息显示,早在去年9月,该公司的法定代表人(负责人)就已完成了变更。

江苏鸿兴达邮政商务资讯有限公司

鸿兴达法定代表人(负责人)发生了变更,由夏艳替代徐刚。

资料显示,鸿兴达是一家被允许在江苏开展预付卡发行与受理业务的支付机构,预付卡品牌名为通达卡。值得注意的是,鸿兴达母公司为南京鸿兴达科技信息有限公司,该公司原为南京邮政局改制企业,或许这也是鸿兴达公司名带“邮政”二字的原因。工商信息显示,去年8月该公司的法定代表人(负责人)就完成了变更。

江苏旅通商务有限公司、新疆润物网络有限公司

江苏旅通、新疆润物等支付机构则发生了营业场所变更。

有兴趣加入支付服务商微信交流群,请加群主微信:mpaypass01,备注公司+姓名+职务+代理商入群。

文章引用微信公众号"移动支付网",如有侵权,请联系管理员删除!

博客评论
还没有人评论,赶紧抢个沙发~
发表评论
说明:请文明发言,共建和谐网络,您的个人信息不会被公开显示。