这家支付机构旗下聚合支付服务商拟取消备案

2023-07-12 16:35   118   0  

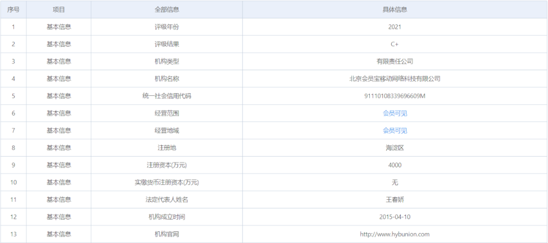
移动支付网消息:近日,中国支付清算协会更新了收单外包服务机构备案系统中取消及拟取消备案的机构名单,245家机构取消备案,48家机构拟取消备案,其中新增一家聚合支付技术服务机构拟取消备案资格,即北京会员宝移动网络科技有限公司(以下简称“会员宝”)。这也使得取消及拟取消的聚合支付技术服务机构数量达到4个,目前已公示的聚合支付技术服务备案的机构为476家。

根据股权信息显示,会员宝拥有两个个人股东,分别是黄师田(80%)和张爱丽(20%),黄师田是持牌支付机构北京和融通支付科技有限公司(以下简称“和融通”)的法定代表人,而和融通的控股公司也是黄师田(80%)和张爱丽(20%)持股。换句话说,会员宝和和融通是同一个老板。值得一提是,和融通也在2020年12月通过了收单外包机构备案,类型为特约商户推荐,、受理标识张贴、特约商户维护、受理终端布放和维护、聚合支付技术服务。

和融通于2012年获得支付牌照,业务类型为局限于北京的银行卡收单。

据公开信息显示,会员宝隶属于和融通,是一家帮助商户实现“智慧经营”,帮助消费者实现“聪明消费”的创新型移动互联网公司。依托线上线下商户资源和强大的技术支持,会员宝于2014年起逐步开展移动支付业务,进军O2O领域。会员宝根据现代经营理念,为商户提供了包括广告引流、积分兑换、电子储值卡服务、对账查询的会员管理系统,通过会员宝官网、微信、微博、APP等方式进行全渠道自营销和精准营销。

2014年,其自主研发的会员宝APP正式上线。会员宝APP系统的价值在于优惠信息推送与消费引流,增强商家与消费者的粘性。通过会员宝地理位置实时获取、目标受众定位及会员管理体系,商户可以在会员宝APP平台上开展精准营销,进行优惠信息推广、广告推送和会员拓展。消费者应用会员宝APP,获取商圈优惠信息,进行合理消费选择与账单实时查询;通过会员宝会员独有的“惠买单”和“惠积分”功能,消费者享有买单折上优惠、积分通用及现金兑换等权益。

根据《收单外包服务机构备案管理办法(试行)》相关规定,已备案的外包机构出现以下情形的,中国支付清算协会将取消其备案,并在网站进行通报,涉嫌违规且情节严重的,移交中国人民银行等相关监管机构处理。

1、违反法律法规受到刑法处罚的;
2、因违规经营外包业务受到监管机构行政处罚的;
3、被纳入协会收单外包机构黑名单的;
4、被协会认定违规经营外包业务,且情节特别严重的;
5、拒不配合协会现场或非现场检查的;
6、申请备案文件有虚假记载、误导性陈述或隐瞒重大事实的;
7、外包机构发生《办法》第18条所述重大事项或重要信息发生变更后90个自然日内未向协会报告的;
8、备案有效期届满前未重新提出备案申请的;
9、失联超过90个自然日以上的,失联是指协会工作人员通过外包机构预留的联系方式不能与外包机构取得联系,或在外包机构登记的营业地址不能找到该机构;

10、协会认为应当取消备案的其他情形。

有兴趣加入支付服务商微信交流群,请加群主微信:mpaypass01,备注公司+姓名+职务+代理商入群。

文章引用微信公众号"移动支付网",如有侵权,请联系管理员删除!

博客评论
还没有人评论,赶紧抢个沙发~
发表评论
说明:请文明发言,共建和谐网络,您的个人信息不会被公开显示。